
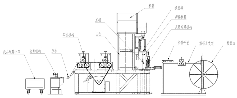
1.放带盘支架及放带盘
根据客户不同的需求,可满足78个,98个,108个放带盘的摆放。
2.优良的焊接性能
优化的结构方案及流程设计,系统性能稳定可靠,是设备节能运行的重要保证。
1、超声波发生器重要器件采用进口材料.
2、超声波换能器采用德国压电陶瓷片,美国进口铝合金
3、超声波模具采用美国进口铝合金
4、气动均采用国内知名品牌。
5、龙门横梁工作时变形量≤8MM.
6、大架关键部分全部机械加工,提高了设备的安装精度。并且由原来的焊接成型改为螺栓连接,减小焊接变形对设备的不利影响。从而大大提高了焊接性能。
3. 精确的牵引机构
1、此结构为我公司独立开发设计,不仅大大提高了产量,而且牵引距离准确,能满足不同网孔尺寸的要求。
2、该机构设有计数功能,能准确显示收卷辊的转动圈数,圈数*0.5米=生产的米数。省却了人工测量。
4.可靠的自动收卷机构
收卷系统与步进协调工作,保证同步。
5. 先进可靠的电气控制系统
本生产线全套电气控制及管理系统是我公司在总结多年设计和用户使用经验的基础上,一切从用户着想,本着技术先进、运行稳定可靠、操作维护简单、管理功能强大等思想而研制开发的一种控制与管理系统,该控制系统在原系列产品的基础上进行了多次优化和技术创新,已成为国内最成熟的控制管理系统。控制系统主要由工业触摸屏、PLC控制系统、配电装置及现场传感单元等组成。
A、 先进的控制模式
1、控制界面完全使用所见即所用的方式,图形化显示,上手迅速,控制方便可靠。
2、针对不同的钢塑格栅生产工艺,可以进行适时调整设置,方便用户管理,达到理想的焊接性能。
B、 高质量的硬件配置
1、具有国内先进水平的控制系统,采用知名品牌的电气元件及可编程控制器。
2、系统硬件具有标准化、模块化等结构特点,可扩展性强,系统的稳定性、可靠性和可维护性高。
3、系统所有硬件及电控元气件均可在市场直接采购,完全解除用户的后顾之忧。
C、 卓越的控制性能
1、各种生产运行参数、报警参数和调试参数全部对用户开放,控制灵活,操作简单。
2、系统主要的生产参数可直接在生产控制画面直接进行调整。
3、自动化控制过程中可进行各种手动干预。